、
應用
熱電阻通常和顯示儀表、記錄儀表等配套使用。直接測量過程中的-200~500℃范圍內液體、蒸汽和氣體介質以及固體表面溫度。
特點
●進口薄膜電阻元件,性能可靠穩定;
●壓簧式感溫元件,抗振性能好;
●度高;
●機械強度高,耐壓性能好
工作原理
熱電阻是利用物質在溫度變化時,其電阻也隨著發生變化的特征來測量溫度的。當阻值變化時,工作儀表便顯示出阻值所對應的溫度值。
主要技術參數
○產品執行標準
IEC751
JB/T8622-1997
JB/T8623-1997
○常溫絕緣電阻
熱電阻在環境溫度為15~35℃,相對濕度不大于80%,試驗電壓為10~100V(直流)電極與外套管之間的絕緣電阻≥100MΩ。
○測溫范圍及允差
注:t為感溫元件實測溫度正值。
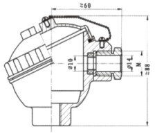
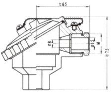
○接線盒形式

防水式 防噴式
注:電氣出口M未特殊指明,一律視為M20×1.5。
型號命名方法
選型須知
1)型號
2)分度號
3)精度等級
4)安裝固定形式
5)保護管材質
6)長度或插入深度
例A:熱電阻,Pt100型,A級,固定螺紋 M27×2,保護管316L,長度450mm,插入深度300mm。WZP-220,Pt100熱電阻,L×I=450×300,I級,保護管316L,螺紋 M27×2。
熱電阻(適用于鎧裝和隔爆熱電偶)
保護管材質及選用
熱電阻通常和顯示儀表、記錄儀表等配套使用。直接測量過程中的-200~500℃范圍內液體、蒸汽和氣體介質以及固體表面溫度。
特點
●進口薄膜電阻元件,性能可靠穩定;
●壓簧式感溫元件,抗振性能好;
●度高;
●機械強度高,耐壓性能好
工作原理
熱電阻是利用物質在溫度變化時,其電阻也隨著發生變化的特征來測量溫度的。當阻值變化時,工作儀表便顯示出阻值所對應的溫度值。
主要技術參數
○產品執行標準
IEC751
JB/T8622-1997
JB/T8623-1997
○常溫絕緣電阻
熱電阻在環境溫度為15~35℃,相對濕度不大于80%,試驗電壓為10~100V(直流)電極與外套管之間的絕緣電阻≥100MΩ。
○測溫范圍及允差
| 型號 | 分度號 | 測溫范圍℃ | 精度等級 | 允許偏差 |
| WZP | Pt100 | -200~+500 | A級 | ±(0.15+0.002|t|) |
| WZC | Cu50 | B級 | ±(0.30+0.005|t|) | |
| Cu100 | -50~+100 | - | ±(0.30+0.006|t|) |
注:t為感溫元件實測溫度正值。
○接線盒形式

防水式 防噴式
注:電氣出口M未特殊指明,一律視為M20×1.5。
型號命名方法
| W | 溫度儀表 | ||||||||
|
| | | | | | | | | | | | | | | | | | | | | | | | | | | | | | | | | |
Z | 熱電阻 | |||||||
|
| | | | | | | | | | | | | | | | | | | | | | | | | | | | | | | |
感溫元件材料 分度號 | ||||||||
|
P C |
鉑 Pt100 銅 Cu50 |
||||||||
|
| | | | | | | | | | | | | | | | | | | | | | | | | | | | |
鉑電阻元件 | ||||||||
|
無 2 |
單支 雙支 |
||||||||
|
| | | | | | | | | | | | | | | | | | | | | | | | |
安裝固定形式 | ||||||||
|
1 2 3 4 5 6 |
無固定裝置 固定螺紋 活動法蘭 固定法蘭 活絡管接頭式 固定螺紋錐形式 |
||||||||
|
| | | | | | | | | | | | | | | | |
接線盒形式 | ||||||||
|
2 3 |
防噴式 防水式 |
||||||||
|
| | | | | | | | | | | | |
保護管直徑 | ||||||||
|
0 1 |
Φ16 Φ12 |
||||||||
|
| | | | | | | | | |
工作端形式 | ||||||||
| G | 變截面 | ||||||||
|
| | | | | | | |
|||||||||
| W | Z | P | 2 | —— | 2 | 2 | 0 | G | 典型型號示例 |
選型須知
1)型號
2)分度號
3)精度等級
4)安裝固定形式
5)保護管材質
6)長度或插入深度
例A:熱電阻,Pt100型,A級,固定螺紋 M27×2,保護管316L,長度450mm,插入深度300mm。WZP-220,Pt100熱電阻,L×I=450×300,I級,保護管316L,螺紋 M27×2。
熱電阻(適用于鎧裝和隔爆熱電偶)
| 序號 | 形式 | 保護管材質 | 公稱壓力 | 熱響應時間 | 備注 |
| 1 | 無固定 | 1Cr18Ni9Ti | 常壓 | <90S | 保護管外徑為Φ16、Φ12兩種具體要求雙方協商而定 |
| 2 | 固定螺紋 | ≤10MPa | |||
| 3 | 活動法蘭 | 常壓 | |||
| 4 | 固定法蘭 | ≤2.5MPa | |||
| 5 | 活絡管接頭式 | 常壓 | |||
| 6 | 固定螺紋錐形式 | ≤30MPa | |||
| 7 | 直形管接頭式 | 常壓 | |||
| 8 | 固定螺紋管接頭式 | ||||
| 9 | 活動螺紋管接頭式 |
| 固定裝置類型 | 插入深度L (mm) | 備注 | |||||||||||||||||||||||||||||||||||||||||||||||||||||||||||||||||||||||||
| 150 | 200 | 250 | 300 | 400 | 500 | 750 | 1000 | 1500 | 2000 | ||||||||||||||||||||||||||||||||||||||||||||||||||||||||||||||||||
| 無固定 |
|
保護管總長 L=l+150 特殊插入深 度及其保護 管材質可按 協議定貨 |
|||||||||||||||||||||||||||||||||||||||||||||||||||||||||||||||||||||||||
| 固定螺紋 | |||||||||||||||||||||||||||||||||||||||||||||||||||||||||||||||||||||||||||
| 活動法蘭 | |||||||||||||||||||||||||||||||||||||||||||||||||||||||||||||||||||||||||||
| 固定法蘭 | |||||||||||||||||||||||||||||||||||||||||||||||||||||||||||||||||||||||||||
| 活絡管接頭式 | |||||||||||||||||||||||||||||||||||||||||||||||||||||||||||||||||||||||||||
| 固定螺紋錐形式 | |||||||||||||||||||||||||||||||||||||||||||||||||||||||||||||||||||||||||||
| 直形管接頭式 | |||||||||||||||||||||||||||||||||||||||||||||||||||||||||||||||||||||||||||
| 固定螺紋管接頭式 | |||||||||||||||||||||||||||||||||||||||||||||||||||||||||||||||||||||||||||
| 活動螺紋管接頭式 | |||||||||||||||||||||||||||||||||||||||||||||||||||||||||||||||||||||||||||
| 材質 | 使用溫度 | 特點及用途 |
| 1Cr18Ni9Ti | -200~800 | 具有高溫耐蝕性,通常作為一般熱鋼使用 |
| 304 | -200~800 | 低碳含量,具有良好耐晶間腐蝕性,通常作為一般耐熱鋼使用 |
| 316 | -200~750 | 低碳含量,具有良好耐晶間腐蝕性,作為耐腐蝕鋼使用 |
| 316L | -200~750 | 超低碳含量,具有良好耐晶間腐蝕性,作為耐腐蝕鋼使用 |
| 310S | -200~1000 | 具有高溫抗氧化性,耐腐蝕型通常作為熱鋼使用 |
| GH3030 | 0~1100 | 鎳基高溫合金鋼,具有優良抗氧化性,耐腐蝕型,通常作為耐熱鋼使用 |





