一、產品簡介:
GX-1型鋼制懸臂梁式稱重傳感器,一端固定、一端加載、傳力形式多樣,并設有良好的密封結構。受力后自動調心好,安裝容易、使用方便、互換性好,可用于制作各種超薄型電子汽車衡、單軌吊秤、料斗秤等。
二、技術指標:
|
量程 |
0.05~10t |
輸入電阻 |
385±10Ω |
|
|
靈敏度 |
2±0.01 mV/V |
3±0.01 mV/V |
輸出電阻 |
350±3Ω |
|
非線性 /滯后/重復性 |
± 0.02%FS |
絕緣電阻 |
≥ 5000 MΩ |
|
|
蠕 變 |
± 0.02%FS |
供橋電壓 |
10(DC/AC) V |
|
|
零點輸出 |
± 1.00%FS |
工作溫度 |
- 20~+60℃ |
|
|
零點溫度影響 |
± 0.02%FS/10℃ |
安全過載 |
120%FS |
|
|
輸出溫度影響 |
± 0.02%FS/10℃ |
材質 |
合金鋼或不銹鋼 |
|
|
接線方式 |
輸入:紅(+)黑(-) 輸出:綠(+) 白(-) |
|||
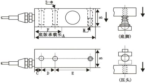
三、外形尺寸:

|
量程 |
尺寸 (mm) |
螺紋 |
||||||
|
(t) |
A |
B |
C |
D |
E |
F |
Φ |
公制 (mm) |
|
0.05~2 |
130.0 |
32.0 |
15.7 |
25.4 |
76.2 |
57.0 |
13.5 |
M12*1.75 |
|
2.5~5 |
171.5 |
38.0 |
19.1 |
38.1 |
95.3 |
76.0 |
20.0 |
M18*1.5 |
|
7.5~10 |
222.5 |
50.8 |
25.4 |
50.8 |
123.8 |
102.0 |
27.0 |
M24*2 |





