一、產品簡介:

適用鋼絲繩張力的測量和控制。
二、技術指標:
|
量程 |
10~200kN |
輸入阻抗 |
380±10Ω |
|
靈敏度 |
1.0~1.5 mV/V |
輸出阻抗 |
350±5Ω |
|
綜合精度 |
0.5%F.S |
絕緣電阻 |
>5000 MΩ |
|
蠕變 |
±0.05%F.S/30min |
供橋電壓 |
建議10VDC |
|
零點輸出 |
±1%F.S |
工作溫度 |
-20~+65℃ |
|
零點溫度影響 |
±0.05%F.S/10℃ |
安全過載 |
150%F.S |
|
輸出溫度影響 |
±0.05%F.S/10℃ |
材質 |
合金鋼 |
|
接線方式 |
輸入:紅(+)黑(-) 輸出:綠(+) 白(-) |
||
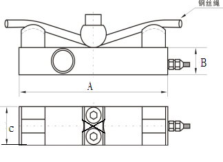
三、外形尺寸:

|
鋼絲繩拉力 |
鋼絲繩 直徑 |
尺寸/mm |
||
|
kN |
mm |
A |
B |
C |
|
10 |
Ф6~Ф14 |
180 |
35 |
60 |
|
20 |
Ф10~Ф18 |
180 |
35 |
60 |
|
40~60 |
Ф16~Ф22 |
180 |
37 |
60 |
|
100~140 |
Ф16~Ф22 |
180 |
37 |
60 |
|
200 |
Ф22~Ф32 |
240 |
40 |
60 |





